北京启博科技有限公司
产品展示
首页 > 产品展示
  • 详细资料

该系列产品的功能是:

将餐饮污水中的废渣、油脂进行收集和提取,再将污水通过污水提升单元排出。


设备特点:

1、全封闭运行,无异味挥发。

2、模块化结构,安装运输方便。

3、自动螺旋除渣系统,运行稳定。

4、高效油水分离系统,处理效果好。

5、高效气浮油水分离系统,处理效果好。

6、恒温加热系统、节能高效

7、液位控制系统,运行稳定功能强大,安全稳定。

8、智能污水提升系统、运行稳定。


一体化油脂分离设备工艺流程图:


 


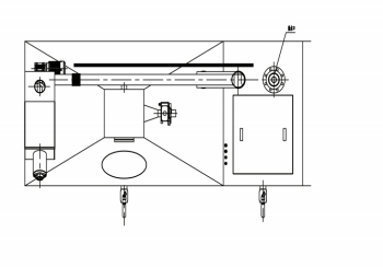
设备尺寸示意图 :


设备立面图设备平面图
 
联系我们
关闭

客户服务热线

010-67635158

在线客服

在线客服